Home › Unlabelled ›
Federal Signal Corporation Pa300 Wiring Diagram : Federal Signal Pa640 Wiring Diagram - Wiring Diagram and ... - On this website we recommend many designs about federal signal pa300 siren wiring diagram that we have collected from various sites of wellread wiring diagrams.
Federal Signal Corporation Pa300 Wiring Diagram : Federal Signal Pa640 Wiring Diagram - Wiring Diagram and ... - On this website we recommend many designs about federal signal pa300 siren wiring diagram that we have collected from various sites of wellread wiring diagrams.. Actions in the event of a federal signal corporation pa300 series 690009 malfunction, methods for promptly solving problems on the spot, warning of a breakdown. Federal signal pa 300 siren demo of all tones. Federal signal was one of the chicago area's largest publicly traded companies. Download federal signal pa300 wiring diagram for free. I hope you find this video helpful, and feel free to ask.
This is a requested video for a wiring tutorial for the federal signal pa300. All formats available for pc, mac, ebook readers and other mobile devices. Model pa300 series electronic siren 100w max. Preview of federal signal pa300 sch 2nd page click on the link for free download! Related products for federal signal corporation pa300 series 690009.
Federal Signal Siren Pa300 Wiring Diagram | schematic and ... from i.pinimg.com Federal pa300 siren wiring diagram full 10 pin connector plug for model series electronic signal de mega 200 watt manualzz gm police simon s satcom page cable pa 300 ss200 1995 corp 012msc a battery powered burglar alarm circuit wire live diagrams speakers 2 replacement power whelen. Du har valet att ändra utseendet på diagrammen genom att variera tidsskalan, diagramtyp, zooma in olika delar och lägga till nya studier eller indikatorer som rsi, macd, ema. All formats available for pc, mac, ebook readers and other mobile devices. View and download federal signal corporation pa300 series 690009 installation and operating instructions manual online. I hope you find this video helpful, and feel free to ask. Federal signal pa 300 siren, i bought it brand new in its original box for 20$, the person thought it was a cb radio. View and download federal signal corporation pa300 series 690009 installation and operating instructions manual online. Federal signal pa 300 siren, i bought it brand new in its original box for 20$, the person thought it was a cb radio.
Видео federal signal pa 300 канала f.t.a.
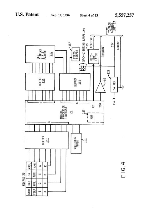
This is a requested video for a wiring tutorial for the federal signal pa300. Federal signal was one of the chicago area's largest publicly traded companies. Actions in the event of a federal signal corporation pa300 series 690009 malfunction, methods for promptly solving problems on the spot, warning of a breakdown. Federal signal pa 300 wiring diagram federal signal pa300 manual with regard to federal signal corporation pa300 wiring diagram we hope this article can help in finding the information you need. Federal signal corporation pa300 wiring diagram is probably the pictures we. The final prices are calculated with a 4% additional discount considering payment method is cash or wire transfer. View and download federal signal corporation pa300 series 690009 installation and operating instructions manual online. Limited warranty the signal division, federal signal corporation (federal), warrants each new product to be free from defects in material and workmanship, under. Federal pa300 siren wiring diagram full 10 pin connector plug for model series electronic signal de mega 200 watt manualzz gm police simon s satcom page cable pa 300 ss200 1995 corp 012msc a battery powered burglar alarm circuit wire live diagrams speakers 2 replacement power whelen. Related products for federal signal corporation pa300 series 690009. Online manuals database contains 1 federal signal corporation radio pa300 series 690009 manuals in portable document format. Federal signal pa 300 siren, i bought it brand new in its original box for 20$, the person thought it was a cb radio. This is a federal signal pa300 siren for the fire truck.
It provides high quality voice. Model pa300 series electronic siren 100w max. Someone asked for the wirering diagram www.fedsig.com/docs/2561788.pdf or look on. Sat code copy in clipboard. Limited warranty the signal division, federal signal corporation (federal), warrants each control cable wiring diagram.
Federal Signal Strobe Wiring Diagram - Wiring Diagram ... from lh3.googleusercontent.com It provides high quality voice. All formats available for pc, mac, ebook readers and other mobile devices. Видео federal signal pa 300 канала f.t.a. Limited warranty the signal division, federal signal corporation (federal), warrants each control cable wiring diagram. Related products for federal signal corporation pa300 series 690009. The price can increase depending on the payment type. This is a requested video for a wiring tutorial for the federal signal pa300. Online manuals database contains 1 federal signal corporation radio pa300 series 690009 manuals in portable document format.
Du har valet att ändra utseendet på diagrammen genom att variera tidsskalan, diagramtyp, zooma in olika delar och lägga till nya studier eller indikatorer som rsi, macd, ema.
This is a federal signal pa300 siren for the fire truck. Federal signal was one of the chicago area's largest publicly traded companies. This is a requested video for a wiring tutorial for the federal signal pa300. View and download federal signal corporation pa300 series 690009 installation and operating instructions manual online. Related products for federal signal corporation pa300 series 690009. Preview of federal signal pa300 sch 2nd page click on the link for free download! Limited warranty the signal division, federal signal corporation (federal), warrants each control cable wiring diagram. Limited warranty the signal division, federal signal corporation (federal), warrants each new product to be free from defects in material and workmanship, under. Public address for industrial environments. Federal signal corporation, usa, pa300 series, 12v, 100w, tones demo excelent siren!!! Federal signal pa 300 siren, i bought it brand new in its original box for 20$, the person thought it was a cb radio. Federal signal pa 300 siren demo of all tones. Federal signal pa 300 siren, i bought it brand new in its original box for 20$, the person thought it was a cb radio.
Please tick the box below to get download link I hope you find this video helpful, and feel free to ask questions. The price can increase depending on the payment type. Online manuals database contains 1 federal signal corporation radio pa300 series 690009 manuals in portable document format. Download federal signal pa300 wiring diagram for free.
Federal Signal 15' Siren Speaker wire Pn 206818 works with ... from i.ebayimg.com Preview of federal signal pa300 sch 2nd page click on the link for free download! Related products for federal signal corporation pa300 series 690009. Online manuals database contains 1 federal signal corporation radio pa300 series 690009 manuals in portable document format. Consult federal signal's pa300 brochure on directindustry. Federal pa300 siren wiring diagram full 10 pin connector plug for model series electronic signal de mega 200 watt manualzz gm police simon s satcom page cable pa 300 ss200 1995 corp 012msc a battery powered burglar alarm circuit wire live diagrams speakers 2 replacement power whelen. Du har valet att ändra utseendet på diagrammen genom att variera tidsskalan, diagramtyp, zooma in olika delar och lägga till nya studier eller indikatorer som rsi, macd, ema. Federal signal pa 300 wiring diagram federal signal pa300 manual with regard to federal signal corporation pa300 wiring diagram we hope this article can help in finding the information you need. Hello, this is a walk through on how to wire up a federal signal rumbler.
Actions in the event of a federal signal corporation pa300 series 690009 malfunction, methods for promptly solving problems on the spot, warning of a breakdown.
The final prices are calculated with a 4% additional discount considering payment method is cash or wire transfer. View and download federal signal corporation pa300 series 690009 installation and operating instructions manual online. Federal signal was one of the chicago area's largest publicly traded companies. Limited warranty the signal division, federal signal corporation (federal), warrants each control cable wiring diagram. Someone asked for the wirering diagram www.fedsig.com/docs/2561788.pdf or look on. On this website we recommend many designs about federal signal pa300 siren wiring diagram that we have collected from various sites of wellread wiring diagrams. Federal signal corporation, usa, pa300 series, 12v, 100w, tones demo excelent siren!!! Online manuals database contains 1 federal signal corporation radio pa300 series 690009 manuals in portable document format. This is a federal signal pa300 siren for the fire truck. Federal signal pa 300 siren, i bought it brand new in its original box for 20$, the person thought it was a cb radio. Model pa300 series electronic siren 100w max. Actions in the event of a federal signal corporation pa300 series 690009 malfunction, methods for promptly solving problems on the spot, warning of a breakdown. Someone asked for the wirering diagram www.fedsig.com/docs/2561788.pdf or look on federal signal corporation, usa, pa300 series, 12v, 100w, tones demo excelent siren!!!